Паспорт восхождения
I. Класс скальный
Район: Крым, Батилиман
Вершина: Куш-Кая
Маршрут: по контрфорсу Южной стены, "варежка"
Категория трудности: 4А
Характеристика маршрута:
Перепад высот — 390 м
Протяженность — 500 м
Средняя крутизна — 51°
Использовано крючьев:
Скальных — 22 шт.
Количество ходовых часов: 6 ч.
Спуск по тропе — 0,5 ч.
Руководитель восхождения: Ткаченко Георгий Александрович
Участники:
Воробьев Михаил Юрьевич
Савченко Дмитрий Данилович
Тренер: Воробьев Михаил Юрьевич
Восхождение совершено: 9 мая 1978 г.
Организация: КФК "Черноморец"

КУШ-КАЯ по контрфорсу Южной стены, "варежка" — 4 к. тр.
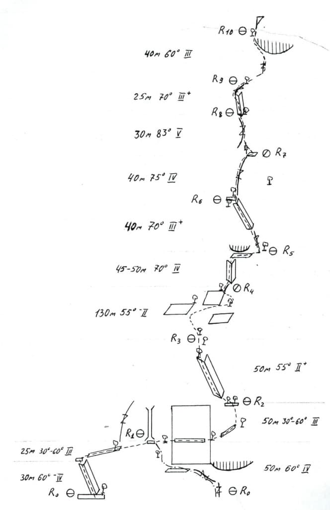
Подход: от связочного полигона по полке влево-вверх, затем 20 м по щелям вверх на большую террасу под мелкие нависающие скалы.
R₁-R₂: Начало маршрута метрах в 50-ти левее желтых нависающих скал.
R₁-R₂: По внутреннему углу, переходящему в систему щелей, до полки 30 м, переход вправо по крутой плите с дырочками на косую полку и по ней 25 м вправо и за угол под начало правой стороны нащепки, "крокодил".
R₂-R₃: Из-под основания камина траверс вправо через дерево на полку, по ней до конца, затем еще чуть вправо и вверх по щелям к двум большим соснам; 50 м.
R₃-R₄: Влево по полке и вверх по внутреннему углу к другой сосне и дальше к следующему дереву; 50 м.
R₄-R₅: Выход в чащу, и по плитам в направлении щели на левой стороне контрфорса; 130 м.
R₅-R₆: По щели метров 30, затем выход вправо на полку под нависающей глыбой. Траверс по полке, потом к дереву 15-20 м.
R₆-R₇: От дерева вверх 40 м по щелям до большой полки с деревом слева от "варежки".
R₇-R₈: Вверх мимо дерева по щели "на отрыв". Выше щель загибается вправо и кончается полкой на вершине "варежки"; 40-45 м.
R₈-R₉: Слева в 5-ти метрах вертикальная щель, по ней подняться до широкой щели — "сердце" — далее по "сердцу" до разрушенного внутреннего уголка и по нему к дереву; 30 м.
R₉-R₁₀: Вверх 15 м по внутреннему углу, затем перелезть через камень вправо к дереву на площадке.
R₁₀-R₁₁: От дерева вправо-вверх до небольшого внутреннего угла, по нему под карниз. Идти влево под карнизом 15 м. Через заклинившую глыбу выходить на вершину.
Необходимое снаряжение:
Веревка — 50 м
Закладки — 8-10 шт.
Крючья скальные — 2-3 шт.

Авторские права на данное описание принадлежат автору или его правопреемникам.